Künstlerische Arbeiten Studierende

Logo
Logo Text
Autor/innen:
Betreuung:
Prof. Dr. Georg Trogemann
Eine Produktion der Kunsthochschule für Medien Köln
Quelle:
Archiv Kunsthochschule für Medien Köln
Copyright: KHM / Autoren
Kontakt: archiv@khm.de

Rediscovering Dr. Richard Eisenmann - A Microhistory of the Electrophonic Piano

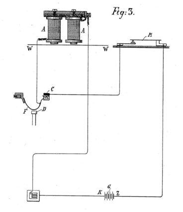
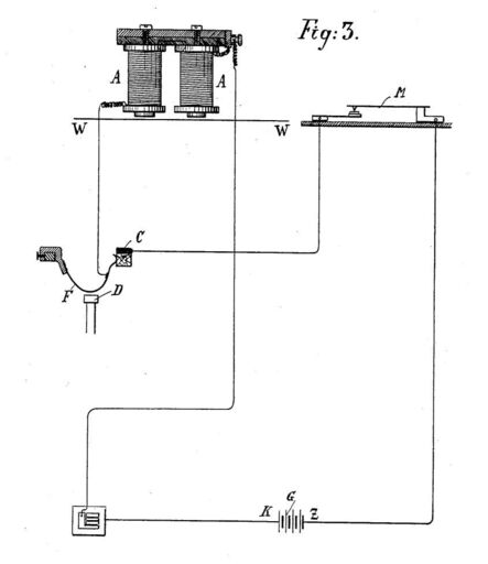
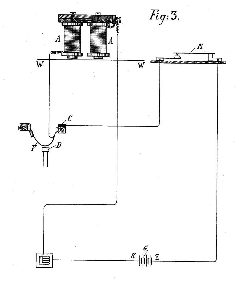
Titelbild des Projekts Rediscovering Dr. Richard Eisenmann - A Microhistory of the Electrophonic Piano
Autor/innen:
  • Christian Rust
Autor/innen:
Entstehungsjahr: 2025
Kategorien: Text / Buch / Print, Dissertation
This dissertation examines the life and work of the overlooked inventor Dr. Richard Eisenmann through a focused study of his electrophonic piano, combining the socio-cultural perspective of New Organology with the methodological precision of Microhistory, and Media Archaeology as a conceptual horizon. Drawing on a diverse array of sources—including patents, legal and administrative files, personal correspondence, photographs, contemporary newspapers, musicological writings, and the instrument itself—this research reconstructs the artifact’s development, iterations, and contemporary reception and presentation. More than a biographical recovery, the study reveals previously overlooked collaborations and technological intersections that led to the creation of the artifact, now housed at the Deutsches Museum Munich. By foregrounding a neglected figure and his now-obscure invention, the dissertation prepares the ground for broader debates surrounding historical epistemologies of sound, the cultural status of technological obsolescence, the critical interrogation of proclaimed novelty and the archival afterlives of forgotten artifacts. In doing so, it not only enriches our understanding of Eisenmann’s legacy but also illustrates the critical potential of interdisciplinary methodologies for rethinking the role of history of media and technology from the margins.
Betreuung:
Prof. Dr. Georg Trogemann
Autor/innen:
  • Christian Rust
Eine Produktion der Kunsthochschule für Medien Köln
Quelle:
Archiv Kunsthochschule für Medien Köln
Copyright: KHM / Autoren
Kontakt: archiv@khm.de
Titelbild des Projekts Rediscovering Dr. Richard Eisenmann - A Microhistory of the Electrophonic Piano
Bitte warten